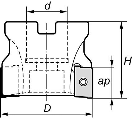
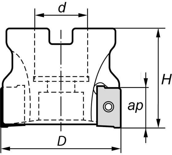
Корпус фрезы N253.D100/Z8 NORGAU 022253100 применяется для обработки карманов, отверстий и уступов под углом 90°. Большой передний угол обеспечивает плавное резание.
.Рекомендуемый момент затяжки винта пластины 3,5 Нм.
.Внимание, сменные пластины не входят в комплект поставки и приобретаются отдельно!
.Также дополнительно можно приобрести Винт пластины - 022256001
.В дополнительных материалах представлены перечень запасных частей и рекомендуемых значений скорости резания и подачи
Технические характеристики
Размеры
-
Общая длина, мм63
-
Внешний диаметр, мм100
-
Посадочный диаметр фрез, мм32
Хвостовик
-
Тип хвостовиканет
Пластины
-
Количество пластин8
-
Размер пластины16
-
Тип пластиныAPKT/APET
Особенности
-
Количество зубьев, шт8
-
Тип фрезыкорпус
-
Канал для СОЖда
-
Вид фрезынасадная
