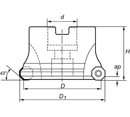
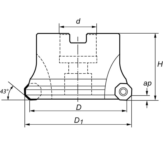
Корпус фрезы торцевой N100.D125/Z8 NORGAU 022100125 применяется для обработки плоскостей и фасок. Специальная геометрия пластин допускает врезание под углом и по спирали.
.Рекомендуемый момент затяжки винта на пластине 5,0 Нм.
.Внимание, сменные пластины не входят в комплект поставки и приобретаются отдельно!
.Также дополнительно можно приобрести Винт пластины - 022106001
.В дополнительных материалах представлены перечень запасных частей и рекомендуемых значений скорости резания и подачи
Технические характеристики
Размеры
-
Общая длина, мм63
-
Внешний диаметр, мм125
-
Посадочный диаметр фрез, мм40
Хвостовик
-
Тип хвостовиканет
Пластины
-
Количество пластин8
-
Размер пластины06
-
Тип пластиныODKT
Особенности
-
Количество зубьев, шт8
-
Тип фрезыкорпус
-
Канал для СОЖнет
-
Вид фрезынасадная
